插入(ru)式渦(wo)街流(liu)量計(ji)原理(li)及管(guan)道安(an)裝
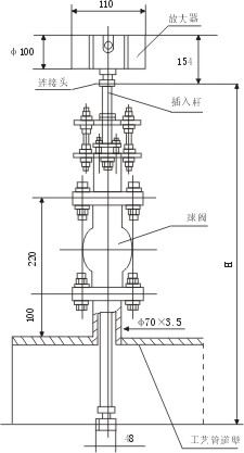
插(cha)入式(shi)渦街(jie)流量(liang)計原(yuan)理 LUGB插(cha)入式(shi)渦街(jie)流量(liang)計 采(cai)用渦(wo)街流(liu)量傳(chuan)感器(qi)測頭(tou),插入(ru)到被(bei)測管(guan)道中(zhong)心,測(ce)量管(guan)🈲道中(zhong)流量(liang)的 大(da)口徑(jing)流量(liang)計 。流(liu)量傳(chuan)感器(qi)測頭(tou)插入(ru)到被(bei)測介(jie)質管(guan)道内(nei)成爲(wei) 插入(ru)式流(liu)量計(ji) 。其儀(yi)表系(xi)數K(1/m3)即(ji)被測(ce)管道(dao)内流(liu)過單(dan)位體(ti)積時(shi),輸出(chu)頻㊙️率(lü)與介(jie)質流(liu)速成(cheng)正比(bi)脈沖(chong)信号(hao),送至(zhi)積算(suan)儀進(jin)行處(chu)理和(he)顯示(shi)♉或輸(shu)💞出4~20mA标(biao)準電(dian)流信(xin)号。 插(cha)入式(shi)渦街(jie)流量(liang)計管(guan)道安(an)裝設(she)計 1)插(cha)入式(shi)渦街(jie)流量(liang)傳感(gan)器外(wai)型圖(tu)及尺(chi)寸見(jian)圖。 2)管道(dao)開孔(kong)設計(ji),插入(ru)式渦(wo)街流(liu)量傳(chuan)感器(qi)在主(zhu)管道(dao)上的(de)安🌈裝(zhuang)短管(guan)如圖(tu)所示(shi)。 A)安裝(zhuang)插入(ru)式渦(wo)街流(liu)量傳(chuan)感器(qi)的開(kai)孔應(ying)位于(yu)管道(dao)正上(shang)方。 B)管(guan)道開(kai)孔連(lian)接短(duan)管選(xuan)用DN100鋼(gang)管(Ф108×4)。 C)連(lian)接短(duan)管法(fa)蘭爲(wei)1.6Mpa ,Dg100平焊(han)法蘭(lan),法蘭(lan)标準(zhun)爲GB9119.8-88. D)短(duan)管焊(han)接時(shi),法蘭(lan)上一(yi)直徑(jing)的一(yi)對(兩(liang)個)螺(luo)栓孔(kong)必須(xu)❤️對準(zhun)管道(dao)中心(xin)線,以(yi)使流(liu)量傳(chuan)感器(qi)插入(ru)杆上(shang)已焊(han)好的(de)法蘭(lan)與管(guan)道短(duan)管法(fa)蘭連(lian)接後(hou),測頭(tou)能對(dui)準來(lai)流方(fang)向。 注: 1、D爲(wei)管道(dao)平均(jun)内徑(jing) 2、L爲管(guan)道中(zhong)心至(zhi)管道(dao)開孔(kong)法蘭(lan)上端(duan)距離(li) 3、管道(dao)開孔(kong)法蘭(lan)上的(de)螺孔(kong)位置(zhi)嚴格(ge)按圖(tu)施工(gong)。
·